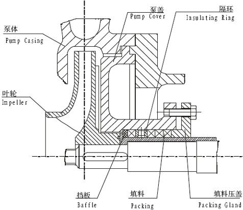
填料密封裝置是用來對輸送泵設備進行密封的裝置,裝置由填料箱、密封環、壓蓋和螺栓構成。填料箱內填充上填料以后,就和泵的轉軸外表發生直接接觸,再經過壓蓋的施壓保證填料和軸外表充分接觸,從而實現密封效果。

填料密封的密封效果是可以通過壓蓋的的松緊程度來調節。壓蓋壓緊,二者之間的接觸緊密導致相互摩擦增加,這樣會增加軸的磨損速度和能量的消耗。壓得太緊甚至會引起軸轉動過慢損壞設備。
壓蓋過松密封性差,會增加泄漏的速度,這和我們使用填料裝置的初衷是相違背的,最佳的密封狀態是液體泄漏的速度在18滴/min左右。而在輸送劇毒、高腐蝕的原料時,即使是很小的泄漏量也會造成傷害,可以通過機械性的密封設備來進行密封。